Российский спутник «Экспресс-АМ7» выведен на орбиту
Космический аппарат «Экспресс-АМ7» создан по заказу ФГУП «Космическая связь» французской компанией «Airbus Defence and Space»
Космический аппарат «Экспресс-АМ7» создан по заказу ФГУП «Космическая связь» французской компанией «Airbus Defence and Space»
Запуск спутника с французского космодрома «Куру» был главным условием контракта с компанией-разработчиком
Ракета стартовала из позиционного района РВСН "Домбаровский" в Оренбургской области
Кластерный запуск ракеты-носителя «Днепр» с пусковой базы «Ясный» запланирован в ночь с 19 на 20 июня 2014 года
Второй казахстанский спутник дистанционного зондирования Земли (ДЗЗ) будет запущен 20 июня 2014 года
Кульминацией авиашоу стало специальное авиационное представление
Пуск KazEOSat-1 отложили из-за неблагоприятной погоды
В рамках недавнего визита президента Франции Франсуа Олланда в Республику Казахстан принят ряд двусторонних документов
Президент Казахстана встретился с представителями ведущих компаний Германии.
Приемка в эксплуатацию запланирована на начало 2015 года
Рейсы из Алматы могут задерживаться из-за метеорологических ограничений.
На создание полномасштабного макета потрачено 2 миллиона юаней.
Cамолеты будущего будут иметь игровые зоны, панорамные окна и умные кресла
Концерн Airbus поставит казахстанской армии два военных самолета С-295
A380 Superjumbo не может конкурировать с самолетами меньшего размера.
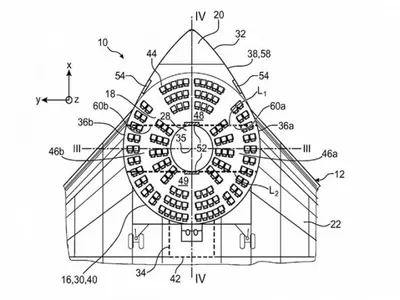
Пассажиры будут размещаться в круглом салоне с соответствующей компоновкой сидений по периметру
Пилот лайнера Airbus A-320 покинул кабину перед крушением
Пилот лайнера Airbus A-320 покинул кабину перед крушением
Всего обновлению подлежали 33 борта, на 18 из них процедура выполнена.
Аудиозапись переговоров пилота лайнера, который пропал с радаров над Средиземным морем утром 19 мая, выложили в сеть. Публикацию сделал телеканал CNN, сообщает Газета.ру.